全球区块链监管查询平台
搜索
简体中文
简体中文
繁體中文
English
Pусский
日本語
ภาษาไทย
Tiếng Việt
Bahasa Indonesia
Español
Português
filippiiniläinen
下载WikiBit
首页
交易所
项目
通证
评价
资讯
行情
实勘
WikiEXPO
教育
集市
直播
数据中心
公告
日历
快讯
社区
您的位置:
首页
>
曝光
>
火币
>
曝光詳情
质押借币平仓无果,疑平台操控致六万USDT损失
helen7151
交易者
2025-02-04 20:31
澳大利亚
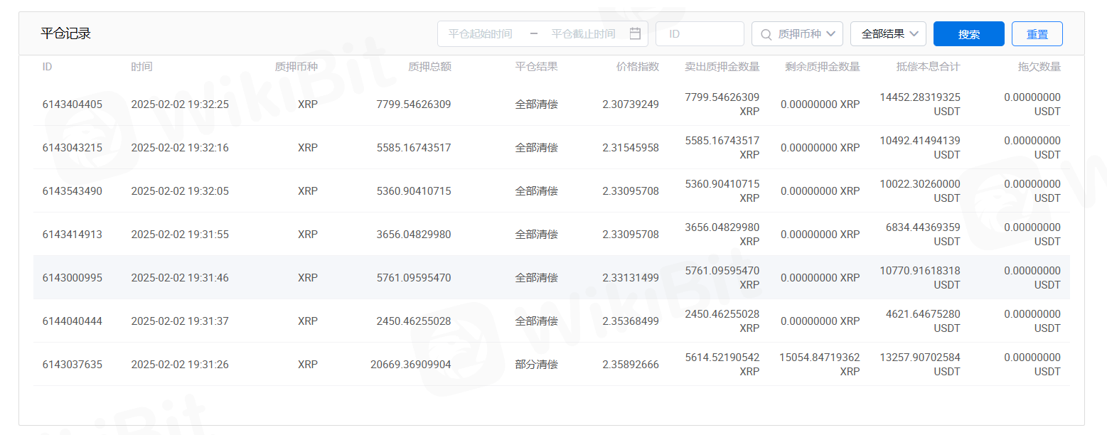
质押借币的功能,我质押了XRP,然后突然跌了,我在质押借币的订单里面点击平仓,但是就是平仓不了,好像平台控制了,坚决不让我充币或者卖出或者平仓,直接让我损失本金达到六万USDT,直接让我质押的XRP归零了,自动清仓让我质押的所有归零,可是我在还未下跌到爆仓价格的时候就在点击平仓卖出了,这根本就个坑,一个陷阱!!!!!救命啊!!!希望曝光后更多人看到!!!本金和质押的虚拟货币被盯上了,怎么都会被收割!!!因为平台不给我平仓的按钮,按不下去!!!!
其他爆料
举报
涉及交易所
监管中
HTX
天眼评分
8.34
10-15年
|
数字货币牌照
|
数字货币牌照
|
MSB牌照
|
涉嫌超限经营
|
高级风险隐患
我要曝光
全部
无法提币
诱导欺诈
其他曝光
上一篇
Dayppx欺骗投资者,拒绝处理提款并要求10%的验证费,将投资者困在一个空楼骗局中!
下一篇
币圈博弈策略:三重玩法,步步为营,稳健盈利之路
举报